Hello,
I am attempting to have Tesseract find a number on a parts diagram. I then will take the number found and its coordinates for further programmatic usage.
I am having no problem getting the engine to see strings of characters and from examination it is returning all of the correct text for the text that it finds.
I have a folder structure of .\tessdata\configs in which I copied one of the config files located in the Tesseract installs configs folder. I edited the file to contain the following two lines:
tessedit_char_whitelist 0123456789-.
tessedit_char_blacklist abcdefghijklmnopqrstuvwxyzABCDEFGHIJKLMNOPQRSTUVWXYZ
I am then referencing the config file and it is being opened properly without complaint. It seems however that the configuration has no effect.


I say this because as you can see I am still getting all of the characters in my blacklist returned.
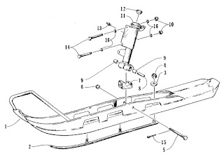
Once I get the configuration to take affect I need to know what configuration is needed to find the single numbers on a parts list per this example.

Thanks in advance for any assistance that can be provided on this.
V/R
James