[The IPKat] Letter from AmeriKat: Spiderman's web ensnares the US Supreme Court in Kimble v Marvel

12 views
Skip to first unread message

Annsley Merelle Ward

unread,
Jun 29, 2015, 9:25:51 PM6/29/15
to ipkat_...@googlegroups.com
Try as she might, the AmeriKat is
no Spiderman...
It was a busy week for the US Supreme Court last week, as it delivered blockbuster judgments on Obamacare and same-sex marriage rights.  No surprise that the Supreme Court's decision in Kimble v Marvel may have been missed by all but a few keen IP legal eagles. But not to fear, in superhero spirit the AmeriKat has come to the rescue...

Background

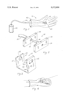
Back when the AmeriKat was only a kitten, Stephen Kimble obtained a patent for a toy (US Patent No 5,072,856).  The toy allowed children to role-play as a "spider person" by shooting webs "from the palm of [the] hand" by way of pressurized foam string.  The patent was filed on 25 May 1990.

Kimble then met with the president of Marvel, the maker of Spider-Man products (among other super hero comic book characters), with the view to sell or licence his patent.  Soon afterward, Marvel started selling a toy dubbed the "Web Blaster" - a toy which encompassed a polyester glove and a canister of foam that when deployed would mimic the infamous Spider Man's web.  In 1997, Kimble sued Marvel for patent infringement (among other claims).  The litigation settled and Marvel agreed to purchase Kimble's patent in exchange for about $500,000 and a 3% royalty on Marvel's future sales of the Web Blaster. The royalty payments were not subject to an end date.  In the words of the court, the parties apparently contemplated that the royalties would "continue for as long as kids wanted to imitate Spider-Man (by doing whatever a spider can)."

Everything was going along fine until Marvel stumbled across Brulotte v Thys (1964).  In this case the US Supreme Court held that a patent holder cannot charge royalties for the use of his invention after its patent term has expired.  This would have the effect of sunsetting the royalty payments under the Kimble/Marvel agreement.  But at the time of negotiating the settlement, neither party was aware of the case.  Nevertheless, Marvel sought declaratory judgment that the licence payments could stop.  The federal district court and, then, the Court of Appeals for the Ninth Circuit agreed (although begrudgingly on the basis that Brulotte was "counter-intuitive" and "unconvincing").  Despite the Brulotte decision, Kimble sought the help of the Supreme Court asking it to depart from the rule in favor of a "flexible, case-by-case analysis...under the rule of reason" under anti-trust law.  This rule requires that the courts analyze a practice's effect on competition (i..e whether a patentee is curtailing competition).

Justice Kagan, adding the
"super" to the Supreme Court
The Question for the Court

Should the US Supreme Court overrule Brulotte?

The Answer

No.  Adhering to the principles of stare decisis (i.e. the notion that today's Court should stand by yesterday's decision), the US Supreme Court refused to overrule Brulotte.  Although they recognized there are critics of the Brulotte rule (which included the dissent), those critics "must seek relief not from this Court but from Congress".

The Reasoning

The Supreme Court's decision, lead by Justice Kagan, can be boiled down into three maxims:

Maxim #1:  All good things come to an end, even patents.
As Justice Kagan put it:  "Patents endow their holders with certain super powers, but only for a limited time".  This was the balance struck by Congress to incentivze innovation but to ensure access to discoveries in a "post-expiration public domain".  The balance is struck by way of the 20 year duration of a patent which runs from the day the application was filed.  Once expired, then the patentee's ability to control the use of the patent expires.  The US Supreme Court has carefully guarded this cut-off in a series of cases of which Brulotte was one of them.  In that case by an 8-1 vote, the US Supreme Court held that a licence agreement was unenforceable in so far as it provided for the payment of royalties after the last of the patents incorporated into a hop-picking machine had expired.  The court cited the decision of Scott Paper holding that any attempt to limit what a licensee can do with an invention following expiration of the patent would run "counter to the policy and purpose of the patent laws."  To hold otherwise, would allow the patent monopoly to continue beyond the patent period (although it would only be the licensee who would be impacted and not the entire world).
Maxim #2:  If it ain't broke, don't reverse it.
Kimble's now infamous
sticky spiderweb string patent
In a few pages of exquisite explanation, the Court held that to do so would cut across the principle of stare decisis.  Although stare decisis is not an "inexorable command" it is nevertheless the desirable course as it promotes the predictable and consistent development of law (Payne v Tennessee) and avoids the expensive reopening of litigation.  However, the Court noted that respecting the principle can mean "sticking to some wrong decisions".  Nevertheless, when there are critics of a decision, the opponents have the opportunity to take their complain "across the street, and Congress can correct any mistake it sees". But, continued Justice Kagan, in this case Congress has refused several opportunities to revisit Brulotte namely when it has revised/re-examined the period of protection for patents (see for example, the Uruguay Round Agreements Act).  Congress has also rejected proposed legislation that would have replaced the Brulotte rule with Kimble's anti-trust style analysis.  Congress' reluctant to meddle with the law strengthened the application of stare decisis especially in case like this one where statutory IP law and contractual law intersected. 
Reversing Brulotte had to be for a "superspecial justification" which could not be found in Kimble's argument.  First, there was no justification in the statutory and doctrinal underpinnings of the Brulotte rule (i.e. a patent's duration) as neither had changed over time.   Second, Brulotte is not unworkable; it is simple to apply.  All that needs to be asked is whether a licence agreement provides royalties for the use of a patent post-expiry.  If it does not, then Brulotte does not apply.  Kimble's anti-trust rule of reason, in comparison, is far more unwieldy and would, in the Court's opinion, produce "notoriously high litigation costs and unpredictable results".  
Maxim #3:  Complain to Congress, not the Court.
Please file your complaints with
the US Congress
Kimble's reasoning that Brulotte rests on a mistaken view of the competitive effects of post-expiration royalties and suppresses technological innovation  may give Congress a reason to legislate the Brulotte rule, but did not justify the Court doing so.  Kimble argued that the Brulotte rule assumed that post-patent royalty arrangements are anti-competitive but that was not the case; more often than not they increase competition on the basis that a longer payment period is generally a lower one leading to lower consumer pries.  Although the Court did not take issue with Kimble's economic reasoning, they nevertheless considered that if such economic misjudgement existed it was the job of Congress to fix it.  Unlike antitrust law via the Sherman Act, patent laws "do not turn over exceptional law-shaping authority to the courts.  Accordingly, statutory stare decisis...retains it's usual strong force".  In any event, the Court did not consider that Brulotte was premised on a misunderstanding of the economic concepts at play.  Competition considerations did not have a role to play in Brulotte as patent law does "not aim to maximize competition (to a large extent, the opposite.)"  The patent term is also a "bright-line rule" that does not call for "practice-specific analysis" as demanded under the anti-trust rule of reason principle.  Taken together, economic policy had no role to play in Brulotte.  Kimble's real complaint likely boiled down to the merits of such a patent policy, but again the Court said that was a complaint for Congress not them.  
In conclusion, the Court held:
"What we can decide, we can undecide. But stare decisis teaches that we should exercise that authority sparingly. Cf. S. Lee and S. Ditko, Amazing Fantasy No. 15: “SpiderMan,” p. 13 (1962) (“[I]n this world, with great power there must also come—great responsibility”). Finding many reasons for staying the stare decisis course and no “special justification” for departing from it, we decline Kimble’s invitation to overrule Brulotte."

What does this mean?

Not everyone is happy in the Supreme Court
following the decision in Kimble
The Brulotte rule and the "bright-line rule" of patent duration remain steadfast.  Patentees can continue to licence their patent rights but only until the expiry of the patent.  Once the patent term expires, that contract is invalid under the Brulotte rule (subject to the contractual caveats outlined in the decision). The Court has also distinguished the role of the courts in developing anti-trust law with that of the statutory provisions in patent law, with the former permitting increased judicial involvement.

Although Kimble lost, he will have taken some solace in the vocal dissent from Justice Alito, joined by Chief Justice Roberts and Justice Thomas, who declared the Brulotte decision as a "bald act of policy making" and one that:
",..interferes with the ability of parties to negotiate licensing agreements that reflect the true value of a patent, and it disrupts contractual expectations. Stare decisis does not require us to retain this baseless and damaging precedent."
In a final damning conclusion, Justice Alito states
"In the end, Brulotte’s only virtue is that we decided it. But that does not render it invincible. Stare decisis is important to the rule of law, but so are correct judicial decisions." 
Time to walk across the street and knock on Congress' door....

--
Posted By Annsley Merelle Ward to The IPKat on 6/30/2015 02:20:00 a.m.
Reply all
Reply to author
Forward
0 new messages