Google Groups no longer supports new Usenet posts or subscriptions. Historical content remains viewable.
Dismiss

Genähte Futtersäcke öffnen, wie?

525 views
Skip to first unread message

John Fanta

unread,
Mar 14, 2012, 11:29:22 AM3/14/12
to
Hallo zusammen

Alle Futtersäcke sind ja oben so zugenäht bzw. eher zugekettelt, und mit
diesem blöden Teil bin ich stets am kämpfen. Ja, da lachen sie jeweils,
meine Hühner... :)

Weiss jemand, wie man diese Dinger öffnet, ohne den Faden Stück für
Stück oder gleich den Sack aufzuschneiden? Bzw. eigentlich meine ich
zu wissen, dass man nur den richtigen Faden finden muss, aber wie findet
man den?

Neulich habe ich in der Landi gefragt, mit dem Resultat, dass mir der
junge Mann demonstriert hat, wie er den Sack aufreisst (und dabei
einen Teil der Körner über seine Kasse verstreut => Mist). Der
"Fachmann" wusste also nicht mal das mit dem richtigen Faden.

Google weiss auch nichts. Sollte das die erste Verrichtung sein, für
die es im Netz keine Anleitung gibt?

--
Ich moechte Buendigeres, Einfacheres, Ernsteres, ich moechte mehr Seele
und mehr Liebe und mehr Herz. - Vincent van Gogh

Werner Ammann

unread,
Mar 14, 2012, 5:51:21 PM3/14/12
to
Sali John,

John Fanta wrote:

> Weiss jemand, wie man diese Dinger öffnet, ohne den Faden Stück für
> Stück oder gleich den Sack aufzuschneiden? Bzw. eigentlich meine ich
> zu wissen, dass man nur den richtigen Faden finden muss, aber wie findet
> man den?

Das hat mir mein Chef in der Stifti so um 1972 rum mal gezeigt.
Leider weiss ich nicht mehr, wie das geht. Sorry!
Jedenfalls gingen bei ihm diese Säcke jeweils fast von selbst auf.


Diesen Link da hast du schon gefunden?

http://meinews.niuz.biz/zugen-t423079.html?s=877fab4141289da82c2fb690deb8a111&


Gruss vom Werner


1X2Willows

unread,
Mar 15, 2012, 9:18:29 PM3/15/12
to
John Fanta wrote:
> Hallo zusammen
>
> Alle Futtersäcke sind ja oben so zugenäht bzw. eher zugekettelt, und
> mit diesem blöden Teil bin ich stets am kämpfen. Ja, da lachen sie
> jeweils, meine Hühner... :)
>
> Weiss jemand, wie man diese Dinger öffnet, ohne den Faden Stück für
> Stück oder gleich den Sack aufzuschneiden? Bzw. eigentlich meine ich
> zu wissen, dass man nur den richtigen Faden finden muss, aber wie
> findet man den?
>
> Neulich habe ich in der Landi gefragt, mit dem Resultat, dass mir der
> junge Mann demonstriert hat, wie er den Sack aufreisst (und dabei
> einen Teil der Körner über seine Kasse verstreut => Mist). Der
> "Fachmann" wusste also nicht mal das mit dem richtigen Faden.
>
> Google weiss auch nichts. Sollte das die erste Verrichtung sein, für
> die es im Netz keine Anleitung gibt?

Zwei Faeden, zwei Enden am Sack. Vier Moeglichkeiten total.
Ueberschuss abschneiden, dann jeden einzeln probieren.
Einer davon ist es.



Stefan Werner

unread,
Mar 17, 2012, 1:57:32 AM3/17/12
to
Am 14.03.12 16:29, schrieb John Fanta:
> Hallo zusammen
>
> Alle Futtersäcke sind ja oben so zugenäht bzw. eher zugekettelt, und mit
> diesem blöden Teil bin ich stets am kämpfen. Ja, da lachen sie jeweils,
> meine Hühner... :)
>
> Weiss jemand, wie man diese Dinger öffnet, ohne den Faden Stück für
> Stück oder gleich den Sack aufzuschneiden? Bzw. eigentlich meine ich
> zu wissen, dass man nur den richtigen Faden finden muss, aber wie findet
> man den?

Laienhafter Antwortversuch: Wie wärs mit einer Schere?

-stef

John Fanta

unread,
Mar 17, 2012, 9:40:16 AM3/17/12
to
Werner Ammann schrieb:

>> Weiss jemand, wie man diese Dinger öffnet, ohne den Faden Stück für
>> Stück oder gleich den Sack aufzuschneiden? Bzw. eigentlich meine ich
>> zu wissen, dass man nur den richtigen Faden finden muss, aber wie
>> findet man den?
>
>Das hat mir mein Chef in der Stifti so um 1972 rum mal gezeigt.
>Leider weiss ich nicht mehr, wie das geht. Sorry!
>Jedenfalls gingen bei ihm diese Säcke jeweils fast von selbst auf.

Genau so, das suche ich. Es gelingt mir ab und zu, aber viel zu selten,
und es sind jeweils nur Zufallstreffer.

>Diesen Link da hast du schon gefunden?
>
>http://meinews.niuz.biz/zugen-t423079.html

Ja, der erste und einzige, der einen Ansatz der richtigen Lösung
liefert. Die Beschreibung ist aber zu ungenau, um den Weg sicher zu
finden. Man kann ja nicht recht üben, ich will ja nicht Dutzende von
Säcken öffnen.

Danke für die Antwort!

John Fanta

unread,
Mar 17, 2012, 9:43:38 AM3/17/12
to
1X2Willows schrieb:

>Zwei Faeden, zwei Enden am Sack. Vier Moeglichkeiten total.
>Ueberschuss abschneiden, dann jeden einzeln probieren.
>Einer davon ist es.

Danke auch dir für die Antwort. Darauf bin ich aber auch selber
gekommen. Das Problem: Einmal am falschen Faden gezogen, und die Sache
ist gelaufen (mit dem Sack). Man hat dann nämlich einen Knopf in den
Schnüren, und es bleibt nichts anderes mehr als die Schere.

John Fanta

unread,
Mar 17, 2012, 9:48:52 AM3/17/12
to
Stefan Werner schrieb:

>Am 14.03.12 16:29, schrieb John Fanta:
>
>> Weiss jemand, wie man diese Dinger öffnet, ohne den Faden Stück für
>> Stück oder gleich den Sack aufzuschneiden? Bzw. eigentlich meine ich
>> zu wissen, dass man nur den richtigen Faden finden muss, aber wie
>> findet man den?
>
>Laienhafter Antwortversuch: Wie wärs mit einer Schere?

An sich gute Idee, das geht einwandfrei. Da ich aber weiss, dass es
irgendwie richtig geht, lässt es mir keine Ruhe. Es wird doch
irgendwer noch wissen, wie man den richtigen Faden findet...?

Patrick Kormann

unread,
Mar 17, 2012, 10:52:17 AM3/17/12
to
Am 17.03.12 14:48, schrieb John Fanta:

> An sich gute Idee, das geht einwandfrei. Da ich aber weiss, dass es
> irgendwie richtig geht, lässt es mir keine Ruhe. Es wird doch
> irgendwer noch wissen, wie man den richtigen Faden findet...?

So was konservatives... :) Nutze den Fortschritt ;)


John Fanta

unread,
Mar 18, 2012, 11:29:26 AM3/18/12
to
Patrick Kormann schrieb:
Du meinst, wenn man ein Werkzeug braucht (Schere), statt es einfach so
zu machen, wie es vom Erfinder gedacht war, ist das Fortschritt?

Patrick Kormann

unread,
Mar 18, 2012, 1:14:11 PM3/18/12
to
Am 18.03.12 16:29, schrieb John Fanta:

> Du meinst, wenn man ein Werkzeug braucht (Schere), statt es einfach so
> zu machen, wie es vom Erfinder gedacht war, ist das Fortschritt?

Wenn das Wissen darum, wie der Erfinder das gedacht hat schon so
verloren ist, hat das einen Grund. Wahrscheinlich ist die Schere sinnvoller.


1X2Willows

unread,
Mar 18, 2012, 3:41:34 PM3/18/12
to
Wie man's nimmt. Also ich finde es jeweils schon sehr praktisch wenn die
zusaetzlichen 5-10cm als Ausguss zum Ausschuetten/Umfuellen erhalten
bleiben. Und zum wieder relativ luft- und insektendicht verschliessen reicht
es dann, den 'Kragen' satt aufzurollen und den Sack auf den Kopf zu stellen.
Kein Klebband, Schnur, Postich etc. vonnoeten und wenn er umfaellt gibts
keine Sauerei, speziell wenn man anfangs nur wenig vom Inhalt braucht.

Aber gut, bei so einer Horde Monsterwauzis geht wahrscheinlich sowieso ein
Sack pro Tag drauf, also kein Schiedunter ;)


Patrick Kormann

unread,
Mar 18, 2012, 4:40:02 PM3/18/12
to
Am 18.03.12 20:41, schrieb 1X2Willows:

> Aber gut, bei so einer Horde Monsterwauzis geht wahrscheinlich sowieso ein
> Sack pro Tag drauf, also kein Schiedunter ;)

Nö aber Frauchen kocht eh dauernd frisch für sie (eigentlich würde sie
ja roh füttern, aber der Rotti mag das irgendwie nicht), also gibt es
keine Säcke zu öffnen.


1X2Willows

unread,
Mar 18, 2012, 4:46:13 PM3/18/12
to
John Fanta wrote:
> 1X2Willows schrieb:
>
>> Zwei Faeden, zwei Enden am Sack. Vier Moeglichkeiten total.
>> Ueberschuss abschneiden, dann jeden einzeln probieren.
>> Einer davon ist es.
>
> Danke auch dir für die Antwort. Darauf bin ich aber auch selber
> gekommen. Das Problem: Einmal am falschen Faden gezogen, und die Sache
> ist gelaufen (mit dem Sack). Man hat dann nämlich einen Knopf in den
> Schnüren, und es bleibt nichts anderes mehr als die Schere.

Okay, ich glaub ich habs.

http://de.academic.ru/dic.nsf/meyers/95156/N%C3%A4hmaschine
Fig. 4. (Einfaden-) Kettenstich

Also (wie abgebildet) den Sack so anschauen dass die Schlaufen nach rechts
zeigen, erste Schlaufe von rechts 'befreien' (schnipp vorne), dann auf der
Rueckseite anpacken und eher in Gegenrichtung ziehen; hier nach links.

Scheint aber auch Zweifaden-Kettenstiche zu geben!
Daher wahrscheinlich das Puff mit "einmal klappts und dann wieder nicht"...


1X2Willows

unread,
Mar 20, 2012, 7:56:03 PM3/20/12
to
1X2Willows wrote:
> Scheint aber auch Zweifaden-Kettenstiche zu geben!
> Daher wahrscheinlich das Puff mit "einmal klappts und dann wieder
> nicht"...

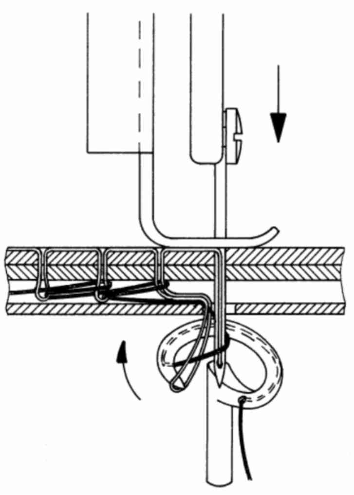
Zweifaden-Kettenstich
http://home.datacomm.ch/mrudin/images/stitec13.jpg

Wie der aufgemacht werden kann, indem man an einem Ende zieht,
erschliesst sich mir aus der Darstellung nicht.

Da hilft wohl wirklich nur noch brutale Gewalt :)


John Fanta

unread,
Mar 29, 2012, 10:46:45 AM3/29/12
to
1X2Willows schrieb:
Ne, ich kann's jetzt. :-) Danke für deine Hinweise, die Abbildungen
haben geholfen. Es ist bei den Säcken, die hier so herumstehen,
durchwegs dieser Zweifaden-Kettenstich - und es ist ziemlich schwer zu
erklären. Vielleicht so:

Es gibt auf beiden Seiten zwei Fadenenden. Auf der einen Seite schaut
einer der Fäden "rückwärts", weil er noch durch eine Schlaufe läuft.
Dort befreit man diesen Faden aus der Schlaufe und zieht dann beide
Fadenenden auseinander. That's it.

John Fanta

unread,
Mar 29, 2012, 10:57:40 AM3/29/12
to
1X2Willows schrieb:

>Patrick Kormann wrote:
>
>> Wenn das Wissen darum, wie der Erfinder das gedacht hat schon so
>> verloren ist, hat das einen Grund. Wahrscheinlich ist die Schere
>> sinnvoller.
>
>Wie man's nimmt. Also ich finde es jeweils schon sehr praktisch wenn
>die zusaetzlichen 5-10cm als Ausguss zum Ausschuetten/Umfuellen
>erhalten bleiben. Und zum wieder relativ luft- und insektendicht
>verschliessen reicht es dann, den 'Kragen' satt aufzurollen und den
>Sack auf den Kopf zu stellen. Kein Klebband, Schnur, Postich etc.
>vonnoeten und wenn er umfaellt gibts keine Sauerei, speziell wenn man
>anfangs nur wenig vom Inhalt braucht.

Dito hier. Und wenn man weiss, wie's geht, ist es so einfach, dass sich
die Frage gar nicht stellt, ob man es so macht oder nicht. Schere
sinnvoll(er)? LOL. ;)
0 new messages